利达LD3600G总线短路保护器 隔离器

一、利达LD3600G总线短路保护器概述
利达LD3600G总线短路保护器主要用于火灾报警控制器的二总线回路中,隔离线路中的短路点,保证线路中的其他设备的正常运行。可以与利达生产的全系列火灾报警控制器配合使用。
二、利达LD3600G总线短路保护器功能特点
二总线,无极性,不占地址点。
不需要外接电源。
单向使用。
三、利达LD3600G总线短路保护器技术参数
型号 LD3600G
名称 总线短路保护器
品牌 利达
工作电压 DC14~DC24V
工作电流 <3.0mA
指示灯 工作指示灯-监视状态红灯常亮,短路指示灯-短路时红灯常亮
工作环境温度 -40℃~+55℃
相对湿度 ≤95%(40±2℃)无凝露
外壳防护等级 IP40
安装方式 配合LD61G底座安装,插拔式结构
重量 约100g
外形尺寸 85mm×85mm×35mm(含底座)
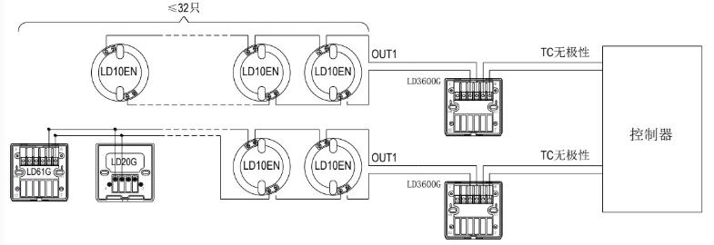
四、利达LD3600G总线短路保护器接线图

TC1、TC2:探测二总线,无极性
OUT1、OUT1:二总线输出线

公司资质
检测报告
检测报告
环境管理体系证书
质量管理体系证书
苏公网安备32058102002152号